
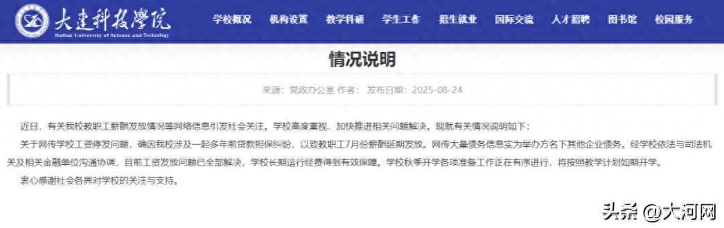
大连科技学院网站8月24日发布情况说明:
近日,有关我校教职工薪酬发放情况等网络信息引发社会关注。学校高度重视,加快推进相关问题解决。现就有关情况说明如下:
关于网传学校工资停发问题,确因我校涉及一起多年前贷款担保纠纷,以致教职工7月份薪酬延期发放。网传大量债务信息实为举办方名下其他企业债务。经学校依法与司法机关及相关金融单位沟通协调,目前工资发放问题已全部解决,学校长期运行经费得到有效保障。学校秋季开学各项准备工作正在有序进行,将按照教学计划如期开学。
衷心感谢社会各界对学校的关注与支持。

此前消息
近日,有网友发帖称“大连科技学院全员停发工资,开学面临停摆”,引发关注。在帖文评论区,记者注意到有一封落款为“大连科技学院工会委员会”的《致全体教职员工一封信》。信中提到,在未收到任何法律文书和通知的情况下,学校各类相关账户被大连市中级人民法院冻结,致使7月工资未能如期发放。学校工会将为全体教职员工发放临时困难补贴和慰问补贴。
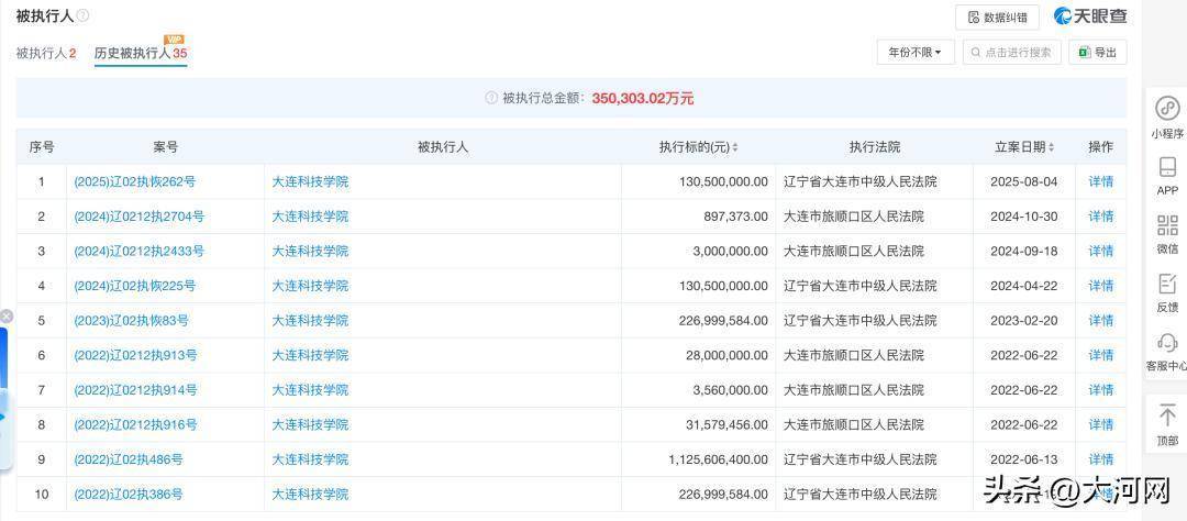
根据天眼查信息显示,大连科技学院共有2条被执行人信息,被执行总金额超2.3亿元;共有35条历史被执行人信息,被执行总金额超35亿元。其中,8月4日新增1则恢复执行信息,执行标的超1.3亿元,执行法院为辽宁省大连市中级人民法院。

▲大连科技学院2条被执行人信息,总金额超2.3亿元。

▲大连科技学院历史被执行人信息共35条,总金额超35亿元。
公开资料显示,大连科技学院位于辽宁省大连市旅顺经济开发区,是一所理工类民办高校。学院于2002年7月建校,前身为大连交通大学信息工程学院,是大连铁道学院与大连阳光世纪教育产业投资有限公司(下称“大连阳光世纪教育”)共同举办的独立学院。2011年,学校改制为民办普通本科大连科技学院。
一所高校,为什么能欠这么多钱?
记者梳理发现,大连科技学院背后的企业,大连阳光世纪教育同样官司缠身,而学校副董事长、常务副校长高小涵,是大连科技学院的法定代表人,同时也是大连阳光世纪教育法定代表人。目前,高小涵共有22条被限制高消费的记录,案件多集中在金融借款合同纠纷、债权转让纠纷、典当纠纷等。
一位大三在校生告诉记者,关于学校全员停薪的事,自己也是从网上看到,内部并未引起过多讨论,但是学校近期新装修了宿舍楼,并在招生季多次宣传寝室环境。
此前,该校还曾发布2025年招聘计划,招聘专任教师、专业带头人、辅导员等42人。
来源:综合大连科技学院官网、深圳新闻网 版权归属原作者 如有侵权请联系删除
天牛宝配资提示:文章来自网络,不代表本站观点。